温州Joepaiバルブ有限公司
温州Joepaiバルブ有限公司
ニュース

ニュース

韓国市場専用ステンレス鋼2PCユニオンボールバルブとJIS/ks 10k〜20k

Joepai Valveは、高性能を起動します2ピースユニオンボールバルブシリーズは、韓国の産業市場向けの厳格なJIS 10K/20K&KS基準を満たすように設計されています。これらのバルブは、投資キャスト機関とゼロリーク保証を備えており、石油化学、造船、および食品加工アプリケーションに対して妥協のない信頼性を提供します。


エンジニアリングエクセレンス:コア機能

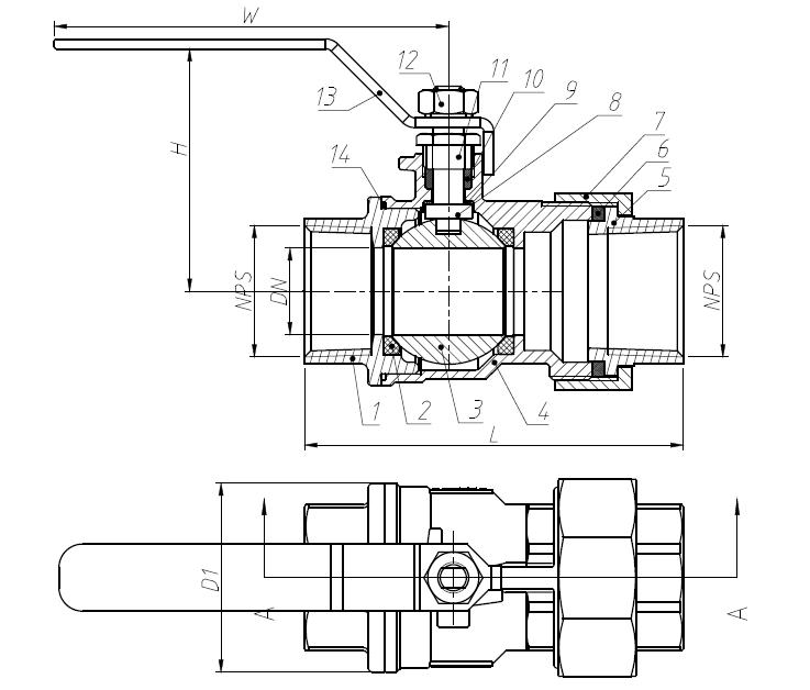
1。堅牢な構造:高次元の精度と構造的完全性を備えた精密鋳造体(CF8/CF8M)。水、石油、ガス(W.O.G.)、作業圧力:800 psi(10k) / 1,000 psi(20k)に適しています。バルブは、JIS B 2003に従って、1,500 psiで静水圧テストされています。

2。顕著なシーリングと安全性:この側面もテストおよび保証されており、100%の漏れテスト、100 psiの空気水中検証、ISO 5208クラスA標準があります。純粋なPTFE®シールとバルブシートは、FDA/EC1935基準に従って、逃亡排出ゼロを達成できます。バルブステムの場合、高圧に耐えることができるSS304/SS316で作られた吹き飛ばしを防ぐために、強化された設計が作成されます。

3.強力な適応性:調整可能なステムパッキング、PTFEパッキングボックスは、分解せずに現場で締めます。温度範囲は、-60°F〜450°F(つまり、-51°Cから232°C)で、低温から蒸気用途に適しています。ソリッドボールバルブオプションが利用可能です。これは、研磨/スラリーメディア(SS316/SS304)に従ってカスタマイズできます。

4。運用上の利点:レバー操作、90°クイッククロージング、位置インジケーター付き。オプションのロックデバイスは、安全性の高いプロセスに適したバルブステータスの安全性を確認します。バルブは、メンテナンスのためにパイプラインを分解することなく、共同で設計されています。


韓国のバイヤーの競争力

✅コスト効率

同一の材料品質(SCS13 = SS304、SCS14 = SS316)を持つ日本/韓国のブランドよりも30%低い価格。

rapid迅速なロジスティクス

配送時間:預金を受け取ってから15〜30日。


主要な技術仕様

特徴 仕様 韓国市場の利点
体材 SCS13(JIS G4303) / SCS14(AISI 316) 化学プラントコンプライアンス
圧力評価 KS 10K(PN20)•KS 20K(PN50) ヒュンダイ/KCCインフラストラクチャに適合します
接続を終了します JIS B0203スレッド ローカルシステムの直接交換
シートマテリアル 強化PTFE(JIS T6812) 4シーズンの-40°C〜200°Cの範囲
手術 ロック可能レバー(KS C IEC 60947) 安全コンプライアンス


Specifications


寸法(JIS B 2002)

NP DN(mm) L(mm) ふーむ) W(mm) D1(mm)
1 " 22 96 60 100 48
11/4」 24 104 62 100 51
11/2」 32 115 80 160 62
2 " 40 130 85 160 75


2PCユニオンバルブは、LNGターミナルから化学用投与システムまで、韓国の高圧シーリングの課題を解決します。 1,500 psiの静水圧テストはKS B 1510要件を超えて、生涯の完全性を確保します。


今すぐ行動!

•描画モデルをダウンロードします: www.joepaivalve.com

•無料サンプルをリクエストします: +86-19957707725 | sales@joepaivalve.com


関連ニュース
メッセージを残してください
X
We use cookies to offer you a better browsing experience, analyze site traffic and personalize content. By using this site, you agree to our use of cookies. Privacy Policy
Reject Accept